PT32 | Bluebell - Authorized Valve Dealer & Supplier

PT 32

PT 32

Thermostatic Static Traps For Clean Steam Applications

DESCRIPTION:

Thermostatic steam trap best suited for use in Clean steam systems. All wetted parts of this trap are manufactured using materials as per FDA guidelines.

FEATURES:

Full stainless steel 316L construction. Condensate draining close to steam temperature ensures minimum condensate back-up. Highly polished for better cleaning and improved corrosion resistance. Surface finish Ra 0.4~0.8μm. Compact and light weight

TMA: Max.

177 oC

PMA: Max.

10.5 bar(g)

MOC

AISI 316L

End connection: Triclamp ends

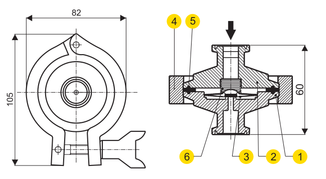
Available Sizes

Material

NO. PART MATERIAL QTY. (Nos.)
1. BODY AISI 316L 1
2. COVER AISI 316L 1
3. CAPSULE AISI 316L 1
4. CLAMP AISI 304 1
5. GASKET PTFE 1
6. SPRING AISI 316L 1

Product GAD

Pennant PT32 Design

Ordering Information

1) Inlet Pressure in bar(g)

2) Back Pressure in bar(g)

3) Operating Temperature in oC

4) Condensate Load in kg/hr

5) Size & Model

Please Fill in the Details for Prompt Response