Compact Module - PCM22B | Bluebell - Authorized Valve Dealer & Supplier

Compact Module - PCM22B (IBR/Non IBR)

PCM22B (IBR/Non IBR)

Compact Module

DESCRIPTION:

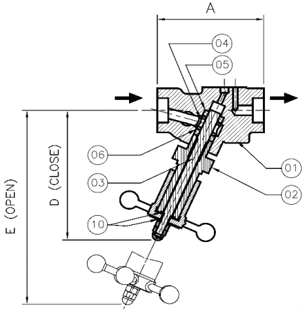
Pennant Compact Module PCM22B is a complete unit in itself. It is a forged steel module comprising upstream isolation valve, a universal connection for fitting a steam trap & a Bypass valve. Steam trap test valve (optional) is provided on the downstream side of compact module.

End connection: Socket Weld/ Screwed

Available Sizes

Material

No. PART MATERIAL QTY. (Nos.)
1. BODY ASTM A105 1
2. BONNET ASTM A105 2
3. PISTON AISI 304 2
4. LANTERN BUSH AISI 304 2
5. SEALING RING LOWER GRAPHITE WITH AISI 304 2
6. SEALING RING UPPER GRAPHITE WITH AISI 304 REINFORCED 2
7. STUDS ASTM A193 Gr. B7 2
8. NUTS ASTM A194 Gr. 2H 2
9. BELLEVILLE WASHER 50CrV4 4
10. PLAIN WASHER AISI 304 3
11. HANDWHEEL ASTM 216 Gr. WCB 1
12. LABEL AISI 304 1
13. NUT MS/AISI 304 1
14. DOME NUT AISI 304 1
15. BYPASS VALVE ASTM A351 Gr. CF8 1
16. LOCKNUT AISI 304 1

Product GAD

Pennant PCM22B Design1
Pennant PCM22B Design2
Pennant PCM22B Design3

Dimensions

Nominal in mm

MODEL A B C D E
PCM22B 91 80 65 117 134

Ordering Information

1) Inlet Pressure in bar(g)

2) Back Pressure in bar(g)

3) Operating Temperature in oC

4) Size & End Connection

5) Steam Trap – Thermodynamic PT18Y, PT17RU

6) Thermostatic PT33U etc.

7) Flow Direction – Left to Right / Right to Left

Please Fill in the Details for Prompt Response